STMicroelectronics Reguladores de tensión de alta precisión LD39130S
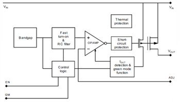
Los reguladores de tensión de alta precisión LD39130S de STMicroelectronics proporcionan una corriente máxima de 300 mA a partir de una tensión de entrada de entre 1,4 V y 5,5 V, con una tensión de desconexión típica de 300 mV. Están disponibles en un paquete DFN6 de 1,2 x 1,3 mm y en un paquete CSP de 4 ondulaciones ultrapequeño que permite el máximo ahorro de espacio. El dispositivo se estabiliza con un condensador cerámico en la salida. Sus características de tensión de caída ultrabaja, corriente inactiva baja y muy poco ruido los convierten en la opción adecuada para aplicaciones de batería de bajo consumo. Integra una circuitería lógica interna, que permite al regulador estar en un modo de consumo ultrabajo (modo ecológico), cuando se requiere una corriente de salida muy baja. El modo de funcionamiento normal, con una rápida respuesta a elementos transitorios, se restablece cuando aumenta la corriente de carga. La función de activación de control lógico coloca al LD39130S en el modo de apagado, lo que permite un consumo total de corriente inferior a 0,1 μA. Proporciona plegado de corriente y protección térmicaSTMicroelectronics LD39130S High Accuracy Voltage Regulator is available in compact DFN6 and CSP4 packages, ideal for space-constrained applications.
Características
- 1.4V to 5.5V input voltage range
- Ultra low dropout voltage (300mV (typical) at 300mA load)
- Automatic green mode
- Very low quiescent current
- ± 1.0% at 25°C output voltage tolerance
- 300mA guaranteed output current
- A wide range of output voltages available on request
- Logic-controlled electronic shutdown
- Internal soft-start
- Compatible with ceramic capacitor COUT = 1μF
- Internal current foldback and thermal protection
- Package options
- 1.2mm x 1.3mm DFN6
- 0.69mm x 0.69mm Flip-Chip
- -40°C to +125°C operating temperature range
Aplicaciones
- Smartphones
- Tablets
- Cameras
- Cordless phones and similar battery-powered systems
- Portable media players
Publicado: 2014-04-18
| Actualizado: 2024-04-23
