Texas Instruments MSP430L092 Mixed Signal Microcontrollers
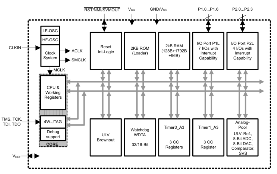
Texas Instruments MSP430L092 Mixed-Signal Microcontroller is configured with two 16-bit timers, an ultra-low-voltage 8-bit Analog-to-Digital Converter (ADC), ultra-low-voltage 8-bit digital-to-analog converter, and up to 11 I/O pins. The TI MSP430L092 MCU is the first true 0.9V MCU and offers developers increased flexibility and configurable analog integration. The TI MSP430L092 is ideal for single-cell systems requiring a full analog signal chain. The TI MSP430 family of ultra-low-power microcontrollers consists of several devices featuring different sets of peripherals targeted for various applications. The architecture, combined with five low-power modes, is optimized to achieve extended battery life in portable measurement applications. The TI MSP430L092 MCU features a powerful 16-bit RISC CPU, 16-bit registers, and constant generators that contribute to maximum code efficiency. The digitally controlled internal oscillators allow wake-up from low-power modes to active mode in less than 5µs.Features
- Ultra-Low Supply Voltage (ULV) Range: 0.9V to 1.5V (1MHz), 1.5V to 1.65V (4MHz)
- Low Power Consumption: Active Mode (AM): 45µA/MHz (1.3V), Standby Mode (LPM3, WDT_A Mode): 6µA, Off Mode (LPM4): 3µA
- Wake-Up From LPMx in Less Than 5µs
- 16-Bit RISC Architecture: Extended Instructions, Up to 4MHz System Clock
- Compact Clock System: 1MHz Internal Trimmable High-Frequency Clock, 20kHz Internal Low-Frequency Clock Source, External Clock Input
- 16-Bit Timer0_A3 With Three Capture/Compare Registers
- 16-Bit Timer1_A3 With Three Capture/Compare Registers
- ULV Analog Pool Modes: 8-Bit Analog-to-Digital Converter (ADC), 8-Bit Digital-to-Analog Converter (DAC)
Applications
- Single battery systems requiring a full analog signal chain
- Portable measurement applications
Block Diagram
Publicado: 2011-01-31
| Actualizado: 2025-04-16
