Texas Instruments TMS320VC5409A Fixed-Point Digital Signal Processor
Texas Instruments TMS320VC5409A Fixed-Point Digital Signal Processor (DSP) is based on an advanced modified Harvard architecture with one program memory bus and three data memory buses. This processor provides an Arithmetic Logic Unit (ALU) with a high degree of parallelism, application-specific hardware logic, on-chip memory, and additional on-chip peripherals. The basis of the operational flexibility and speed of the Texas Instruments TMS320VC5409A is a highly specialized instruction set.Separate program and data spaces allow simultaneous access to program instructions and data, providing a high degree of parallelism. Two read operations and one write operation can be performed in a single cycle. Instructions with a parallel store and application-specific instructions can fully utilize this architecture. Also, data can be transferred between data and program spaces. Such parallelism supports a powerful set of arithmetic, logic, and bit-manipulation operations that can all be performed in a single machine cycle. The device also includes the control mechanisms to manage interrupts, repeated operations, and function calls.
Features
- Advanced multibus architecture with three separate 16-bit data memory buses and one program memory bus
- 40-bit Arithmetic Logic Unit (ALU), including a 40-bit barrel shifter and two independent 40-bit accumulators
- 17- × 17-bit parallel multiplier coupled to a 40-bit dedicated adder for non-pipelined single-cycle Multiply/Accumulate (MAC) operation
- Compare, Select, and Store Unit (CSSU) for the add/compare selection of the Viterbi operator
- Exponent encoder to compute an exponent value of a 40-bit accumulator value in a single cycle
- Two address generators with eight auxiliary registers and two Auxiliary Register Arithmetic Units (ARAUs)
- Data bus with a bus holder feature
- Extended addressing mode for 8M \xD7 16-bit maximum addressable external program space
- 32K x 16-bit on-chip RAM composed of
- Four blocks of 8K \xD7 16-bit on-chip dual-access program/data RAM
- 16K \xD7 16-bit on-chip ROM configured for program memory
- Enhanced External Parallel Interface (XIO2)
- Single-instruction-repeat and block-repeat operations for program code
- Block-memory-move instructions for better program and data management
- Instructions with a 32-bit long word operand
- Instructions with two- or three-operand reads
- Arithmetic instructions with a parallel store and parallel load
- Conditional store instructions
- Fast return from interrupt
- On-chip peripherals
- Software-programmable wait-state generator and programmable bank-switching
- On-chip programmable Phase-Locked Loop (PLL) clock generator with an internal oscillator or external clock source
- One 16-bit timer
- Six-channel Direct Memory Access (DMA) controller
- Three Multichannel Buffered Serial Ports (McBSPs)
- 8/16-bit enhanced parallel host-port interface (HPI8/16)
- Power consumption control with IDLE1, IDLE2, and IDLE3 instructions with power-down modes
- CLKOUT off control to disable CLKOUT
- On-chip scan-based emulation logic, IEEE Std 1149.1 (JTAG) Boundary-Scan Logic
- 144-Pin Ball Grid Array (BGA)[GGU Suffix]
- 144-Pin Low-Profile Quad Flatpack (LQFP) (PGE Suffix)
- 6.25ns single-cycle fixed-point instruction execution time (160 MIPS)
- 8.33ns single-cycle fixed-point instruction execution time (120 MIPS)
- 3.3V I/O supply voltage (160 and 120 MIPS)
- 1.6V core supply voltage (160 MIPS)
- 1.5V core supply voltage (120 MIPS)
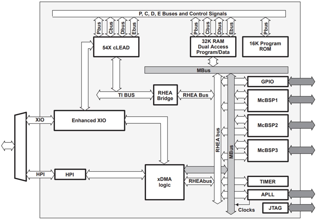
Functional Block Diagram
Publicado: 2020-08-12
| Actualizado: 2024-08-02
