Texas Instruments TAS5720A-Q1 Automotive Class-D Audio Amplifiers

Texas Instruments TAS5720A-Q1 1x25W Digital Input Closed-Loop Automotive Class-D Audio Amplifiers offer up to 25W immediate power into 4Ω at 10% THD+N at 14.4V. The TAS5720A-Q1 is an excellent choice for use in automotive emergency call (eCall), telematics, acoustic vehicle alerting system (AVAS), and EV/HEV sound generation applications. Features include selectable hardware or software control modes, selectable gain options, and an integrated digital clipper. The device provides a wide power supply operating range of 4.5V to 26.4V and is available in a thermally enhanced 32-Pin TSSOP package. The TAS5720A-Q1 devices are AEC-Q100 qualified for automotive applications.

Features

  • Minimum supply voltage down to 4.5V
  • Selectable hardware or software control
  • Audio performance (PVDD = 12V, RSPK = 8Ω, SPK_GAIN[1:0] Pins = 00)
    • Idle channel noise = 69µVrms (A-Wtd)
    • THD+N = 0.02% (at 1W, 1kHz)
    • SNR = 100dB A-Wtd (Ref. to THD+N = 1%)
  • Audio I/O configuration:
    • Mono I²S input
    • 32, 44.1, 48, 88.2, 96kHz Sample rates
  • Qualified for automotive applications
  • General operational features:
    • Integrated digital output clipper
    • Programmable I²C address (1101100[R/W] or 1101101[R/W])
    • Closed-loop amplifier architecture
  • Robustness features:
    • Clock error, DC, and short-circuit protection
    • Overtemperature and programmable overcurrent protection

Applications

  • Automotive telematics
  • eCall (Emergency Call)
  • Acoustic Vehicle Alerting System (AVAS)
  • EV/HEV Sound generation

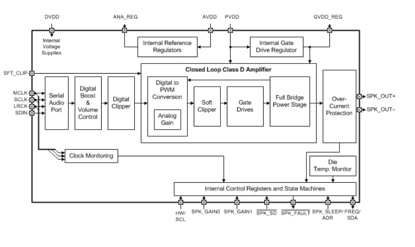
Block Diagram

Block Diagram - Texas Instruments TAS5720A-Q1 Automotive Class-D Audio Amplifiers
Publicado: 2018-08-09 | Actualizado: 2025-03-06