Microcontroladores de señal mixta MSP430i204x/3x/2x de Texas Instruments

Microcontroladores de señal mixta
MSP430i204x/3x/2x de Texas Instruments

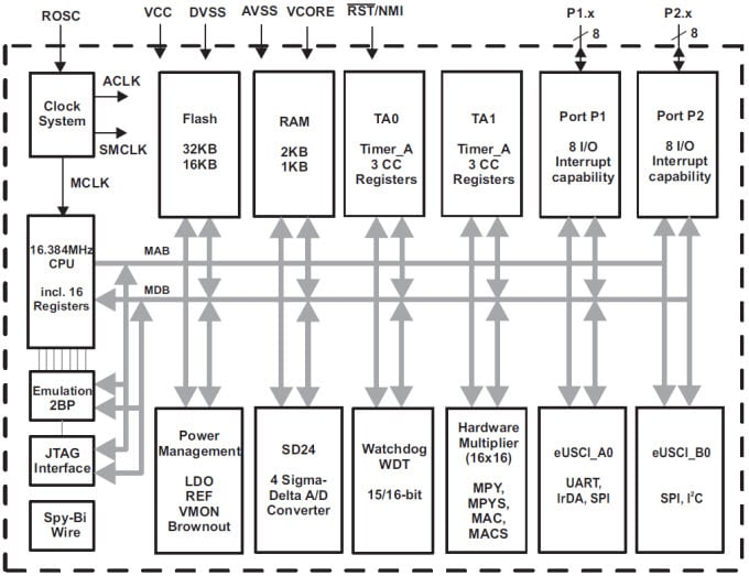
Los microcontroladores de señal mixta MSP430i204x/3x/2x de Texas Instruments constan de una potente CPU RISC de 16 bits, un sistema de reloj basado en DCO que genera los relojes del sistema, un módulo de gestión de potencia (PMM) con referencia de tensión integrada y monitor de tensión. Estos microcontroladores de señal combinada también incluyen de dos a cuatro convertidores de analógico a digital (ADC) sigma-delta de 24 bits, un multiplicador de hardware de 16 bits, dos temporizadores de 16 bits, un módulo eUSCI-A y un módulo eUSCI-B, un temporizador de vigilancia (WDT) y hasta 16 pines de E/S. Entre las aplicaciones típicas se incluyen sistemas de medición, medición auxiliar, monitorización y control de potencia, y sensores industriales.

Características
  • Intervalo de tensión de alimentación de 2,2 V a 3,6 V
  • Arquitectura RISC de 16 bits, con reloj de sistema de hasta 16,384 MHz
  • Consumo de energía
    • Modo activo (AM)
      • Todos los relojes del sistema activos de 275 µA/MHz a 16,384 MHz, 3,0 V, con ejecución de programa Flash (típica)
    • Modo en espera (LPM3)
      • Temporizador de control activo, retención RAM completa de 210 µA a 3,0 V (típica)
    • Modo desconectado (LPM4)
      • Retención RAM completa de 70 µA a 3,0 V (típica)
    • Modo de apagado (LPM4.5)
      • 75 nA a 3,0 V (típico)
  • Reactivación del modo en espera en 1 µs
  • Memorias
    • Hasta 32 KB de memoria principal Flash
    • 1 KB de memoria de información Flash
    • Hasta 2 KB de RAM
  • Sistema de gestión de energía
    • LDO integrado con la tensión de suministro principal regulada DE 1,8 V
    • Monitor de tensión de alimentación con detección de nivel programable
    • Detector de caídas de tensión
    • Referencia de tensión integrada
    • Sensor de temperatura
  • Sistema de reloj
    • DCO interno de 16,384 MHz
    • Funcionamiento de DCO con resistencia interna o externa
    • Fuente de reloj digital externo

  • Hasta cuatro convertidores de analógico a digital (ADC) Sigma-Delta de 24 bits con entradas PGA diferenciales
  • Dos temporizadores de 16 bits con tres registros de captura/comparación cada uno
  • Interfaces de comunicación en serie universales mejoradas (eUSCI)
    • eUSCI_A0
      • UART mejorada con detección automática de velocidad de baudios
      • Codificador y decodificador IrDA
      • SPI síncrona
    • eUSCI_B0
      • SPI síncrona
      • I2C
  • Multiplicador de hardware de 16 bits
  • Programación en serie en la placa, no se requiere tensión de programación externa
  • Protección de código programable
  • Módulo de emulación en chip
  • Disponible en paquetes TSSOP de 28 pines (PW) y VQFN de 32 pines (RHB)

  • Aplicaciones
    • Medidor
    • Medición auxiliar
    • Monitorización y control de potencia
    • Sensores industriales
Diagrama de bloques funcional
Diagrama de bloques funcional
eNews
  • Texas Instruments
Publicado: 2014-11-10 | Actualizado: 2025-04-16