Toshiba Microcontrolador TMPM4K de 32 bits del Grupo (1)
El microcontrolador de 32 bits Toshiba TMPM4K del Grupo (1) se basa en el potente procesador Arm® Cortex®-M4 con FPU. Este microcontrolador funciona en un rango de frecuencias de 1 MHz a 120 MHz y en un rango de voltajes de 2,7 V a 5,5 V. El microcontrolador TMPM4K consta de funciones de autodiagnóstico que admiten la certificación de seguridad funcional según la norma IEC 60730 clase B y otras normas. Este microcontrolador incluye interfaces de codificador y funciones de control de motor programables, que reducen la carga de la CPU durante el control del motor. El microcontrolador TMPM4K cuenta con un convertidor de analógico a digital (ADC) de 12 bits, controlador DMA (DMAC), circuito de cálculo de CRC (CRC), circuito de comunicación serial asíncrona (UART) y circuito de selección de activación (TRGSEL). Este microcontrolador se utiliza en aplicaciones como motores, lavadoras, frigoríficos y equipos industriales.Características
- Procesador Arm® Cortex®-M4 con FPU
- Rango de frecuencia de funcionamiento de 1 MHz a 120 MHz
- Admite la Unidad de protección de memoria (MPU)
- Memoria flash de 128 KB a 256 KB
- Rangos de funcionamiento
- Rango de voltaje de 2,7 V a 5,5 V
- Modo de bajo consumo de energía en modo IDLE y modo STOP1
- Memoria interna
- Flash de código de 128 KB a 256 KB y hasta 100.000 veces de frecuencias de reescritura
- RAM de 18 KB, admite paridad
- Reloj
- Oscilador externo de alta velocidad (EHOSC) de 6 MHz a 24 MHz (oscilador de cerámica y cristal)
- Entrada de reloj externo de alta velocidad (EHCLKIN) de 6 MHz a 24 MHz
- Oscilador interno de alta velocidad (IHOSC1) de 10 MHz, admite ajuste por parte del usuario
- PLL de 120 MHz
- Circuito de control de motor programable avanzado (A-PMD)
- 1x a 2x canales
- Funcionamiento sincronizado con salida PWM complementaria trifásica y ADC de 12 bits
- Admite control PFC entrelazado trifásico
- Función de parada de emergencia mediante entradas externas (pines EMG y OVV)
- Circuito de entrada de codificador avanzado (32 bits, A-ENC32)
- 2 canales
- Modo codificador/sensor (3 tipos)/temporizador/contador de fase
- Contador de eventos de temporizador de 32 bits (T32A)
- 6 canales como temporizador de 32 bits y 12 canales como temporizador de 16 bits
- Temporizador de intervalos, contador de eventos, captura de entrada, conteo de 2 fases más, salida PPG, inicio y parada sincronizados y activación de inicio y parada
- Temporizador watchdog selectivo de reloj (SIWDT)
- 1 canal
- Se puede seleccionar un reloj distinto al reloj del sistema como reloj de origen
- Se puede seleccionar una ventana clara, una interrupción o una salida de reinicio
- Interfaz I2C
- 1 canal, admite interfaz I2C multimaestro
- 1 canal, admite interfaz I2C multimaestro y de direccionamiento de 10 bits, versión A (EI2C)
- Convertidor de analógico a digital (ADC) de 12 bits
- 2 unidades, 9x a 12x entradas analógicas
- Tiempo de conversión de 0,73 µs a fSCLK = 30 MHz
- Función de soporte de autodiagnóstico
- Funciones de comparación de los resultados de conversión de cada unidad
- Paquetes
- LQFP64 10 mm x 10 mm, paso de 0,5 mm
- LQFP48 7 mm x 7 mm, paso de 0,5 mm
- LQFP44 10 mm x 10 mm, paso de 0,8 mm
Aplicaciones
- Industria
- Inversores
- Equipo de motor
- Acondicionadores de energía
- Robots
- Consumidor
- Aire acondicionado
- Lavadoras
- Figoríficos
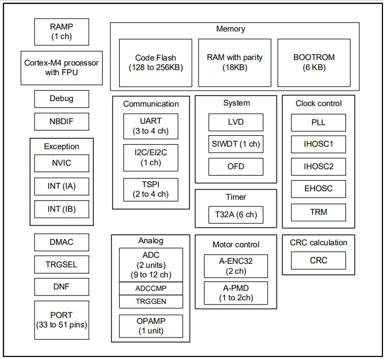
Diagrama de bloques
Publicado: 2025-02-20
| Actualizado: 2025-08-28
