Controlador LED con regulación de lado primario FL7733A de Fairchild

Controlador LED con regulación de lado primario FL7733A de Fairchild

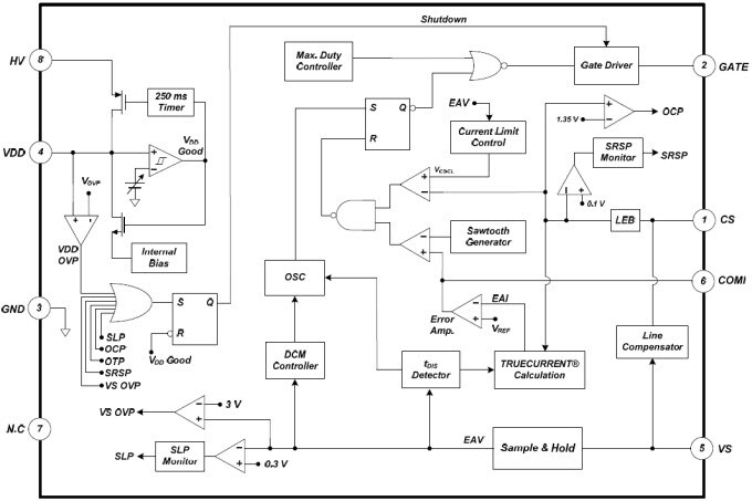
El controlador LED con regulación de lado primario FL7733A de Fairchild es un controlador PWM que incorpora la técnica de regulación de lado primario (Primary-Side Regulation - PSR) avanzada, que minimiza el número de componentes de los convertidores de iluminación LED de baja a media potencia. Utilizando una innovadora tecnología TRUECURRENT® para ofrecer una salida de corriente continua de elevada tolerancia, este controlador LED permite diseños con tolerancia de corriente continua (CC) inferior al ±1% para todo el rango de tensiones de línea para cumplir los exigentes requisitos de brillo LED. Al minimizar la fluctuación del tiempo de activación, el FL7733A puede proporcionar un factor de potencia alto y un THD bajo en toda la gama de líneas universales. Un circuito de puesta en marcha de alta tensión integrado permite obtener una puesta en marcha rápida y una elevada eficiencia del sistema. Durante la puesta en marcha, el control de bucle de retroalimentación adaptativo anticipa el estado constante y ajusta el estado de retroalimentación cerca del estado constante para asegurarse de que no se produce ninguna condición de corriente excesiva o insuficiente en el LED. El FL7733A también proporciona protecciones potentes, como por ejemplo frente a cortocircuito o circuito abierto del LED, cortocircuito del diodo de salida, cortocircuito o circuito abierto de la resistencia de detección y exceso de temperatura, para obtener una alta fiabilidad del sistema.

Características
  • Rendimiento
    • Tolerancia de corriente continua total del ±3% para todas las condiciones
      • Variación de tensión de línea universal del ±1% con una variación de tensión de carga del 50% al 100%
      • ±1% con variación de inductancia de magnetización del ±20%
    • Control de regulación de lado primario (RSR) para una solución rentable que no requiere un gran condensador de entrada ni circuitos de retroalimentación secundarios
    • Rango de tensión de entrada de aplicación: 80 VCA - 308 VCA
    • PF elevado de 0,9 y THD bajo del 10% para toda la gama de entradas de líneas universales
    • Puesta en marcha rápida en 200 ms (con 85 V CA) utilizando la puesta en marcha con alta tensión interna con regulación VDD
    • Control de bucle de retroalimentación adaptativo para arranque sin exceso de tensión

  • Protección de sistemas
    • Protección para circuitos abiertos o cortocircuitos en LED
    • Protección contra cortocircuitos del diodo de salida
    • Protección para circuitos abiertos o cortocircuitos en resistencia de detección
    • Protección de sobretensión (OVP) de VDD
    • Bloqueo de baja tensión de entrada (UVLO) VDD
    • Protección contra exceso de temperatura (OTP)
    • Todas las protecciones son de arranque automático (AR)
    • Límite de corriente ciclo a ciclo

  • Aplicaciones
    • Sistemas de iluminación LED de baja a media potencia, de 5 W a más de 60 W, compatibles con la función de atenuación analógica
eNews
Comentarios de Mouser.com

Mouser acoge con agrado una interacción animada y educada en nuestro sitio web. Para albergar un debate cooperativo, deje sus comentarios relevantes sobre los temas de esta página. Todos los comentarios se revisan antes de ser publicados para garantizar que el idioma y contenido que se usan sean adecuados.

  • ON Semiconductor
Publicado: 2014-10-29 | Actualizado: 2022-03-11