NXP Semiconductors Controlador LCD 32x4 para automoción PCA85262
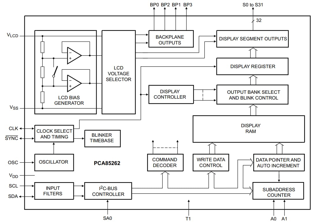
El controlador LCD 32x4 para automoción PCA85262 de NXP es un dispositivo periférico que crea una interfaz con casi cualquier pantalla de cristal líquido (LCD) con tasas de multiplexado bajas. Genera las señales de accionamiento para cualquier LCD multiplexada o estática que contenga hasta cuatro placas posteriores y hasta 32 segmentos. Se puede colocar fácilmente en cascada para aplicaciones LCD más grandes. El PCA85262 es compatible con la mayoría de microcontroladores y se comunica a través de I2C-bus bidireccional de dos líneas. Los gastos de comunicación se minimizan mediante una RAM de pantalla con direccionamiento en incrementos automáticos, por subdireccionamiento de hardware y por conmutación de memoria de visualización (modos de accionamiento estático y doble).Características
- AEC-Q100 grade 2 compliant for automotive applications
- Single-chip LCD controller and driver
- Selectable backplane drive configuration (static, 2, 3, or 4 backplane multiplexing)
- Selectable display bias configuration (static, 1/2, or 1/3)
- Internal LCD bias generation with voltage-follower buffers
- 32 segment drives
- Up to 16 7-segment numeric characters
- Up to 8 14-segment alphanumeric characters
- Any graphics of up to 128 elements
- 32x4-bit RAM for display data storage
- Display memory bank switching in static and duplex drive modes
- Versatile blinking modes
- Independent supplies possible for LCD and logic voltages
- 1.8V to 5.5V wide power supply range
- Wide logic LCD supply range
- From 2.5V for low-threshold LCDs
- Up to 8.0V for guest-host LCDs and high-threshold twisted nematic LCDs
- Low power consumption
- Extended temperature range up to 105°C
- 400kHz I2C-bus interface
- No external components required
- Manufactured in silicon gate CMOS process
Block Diagram
Publicado: 2015-04-28
| Actualizado: 2022-03-11
