Microchip Technology Microcontroladores de 8 bits PIC16LF1554/1559
Los microcontroladores de 8 bits PIC16LF1554/1559 de Microchip con núcleo de gama media mejorados incluyen funciones únicas en chip para el diseño de soluciones mTouch™ y aplicaciones de uso general en paquetes de 14/20 pines. Estos MCU incluyen 17 canales analógicos que se conectan a dos ADC de 10 bits con módulos automatizados CVD de hardware, dos PWM y varios periféricos de comunicación que ofrecen una solución excelente para implementar la detección de capacidad y otras aplicaciones de muestreo frontales con mínimo gasto de software.Características
- Dual Analog to 10-bit Digital Converter (ADC)
- 12 (PIC16LF1554) or 17 (PIC16LF1559) Channel 10-bit ADC
- Advanced Controls for mTouch CVD (Capacitive Voltage Divider)
- Voltage Reference
- MI2C, SPI, UART
- 2 PWMs (PIC16LF1554 only)
- 25mA Source/Sink current I/O
- 32MHz internal oscillator
- Low Power Brown Out Reset (LPBOR)
- Extended Watchdog Timer (WDT)
- In-Circuit Debug
- Operating Voltage 1.8V - 3.6V
Aplicaciones
- mTouch solutions
- General purpose HMI applications
Documentos
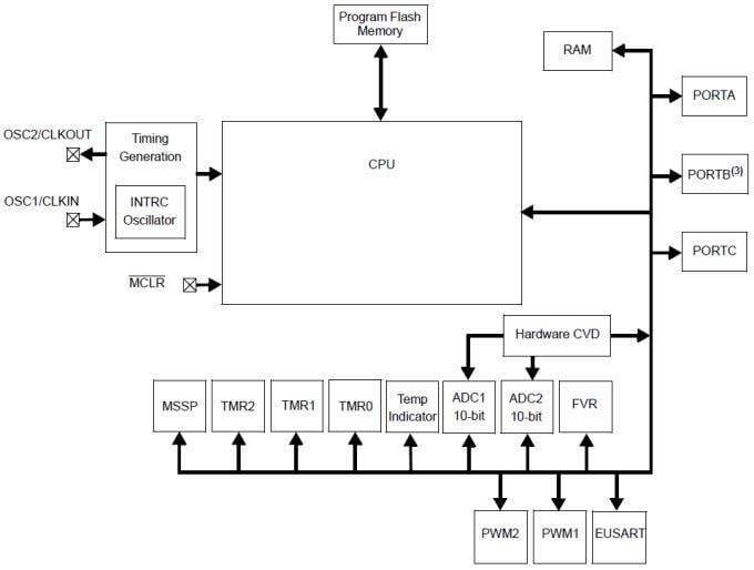
Block Diagram
Publicado: 2014-10-02
| Actualizado: 2022-03-11
