Microchip Technology Microcontroladores de 8 bits PIC12F157x de Microchip
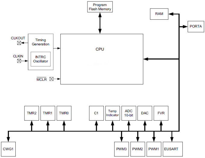
Los microcontroladores de 8 bits PIC12F157x de Microchip combinan las funciones de PWM de 16 bits con Intelligent Analog para adaptarse a diversas aplicaciones. Estos dispositivos proporcionan tres PWM de 16 bits con temporizadores independientes, para aplicaciones en las que se requiera alta resolución, como por ejemplo iluminación LED, motores con reductor, fuentes de alimentación y otras aplicaciones de propósito general. Los periféricos independientes centrales (PWM de 16 bits, generador de forma de onda complementario), transceptor/receptor síncrono/asíncriono universal (Universal Synchronous Asynchronous Receiver Transceiver) mejorado e Intelligent Analog (ADC, comparador y DAC) permiten retroalimentación de bucle cerrado y comunicación que pueden emplearse en múltiples segmentos de mercado, como por ejemplo aplicaciones LIN.Características
- Enhanced Mid-range Core with 49 Instruction, 16 Stack Levels
- Flash Program Memory with self-read/write capability
- High Endurance Flash memory in lower byte of last 128 addresses of Program Memory (100,000 Writes min.)
- Internal clock speeds from 31kHz to 32MHz
- 3x Standalone 16-bit PWM Modules
- Complementary Waveform Generator (CWG) Module
- 4 Channel 10-bit ADC with Voltage Reference
- 5-bit Digital to Analog Converter (DAC)
- Comparator
- 2x 8-bit Timers (TMR0/TMR2)
- 1x 16-bit Timer (TMR1)
- Three additional 16-bit Timers available using the 16-bit PWMs
- Extended Watchdog Timer (WDT)
- Enhanced Power-On/Off-Reset
- Low-Power Brown-Out Reset (LPBOR)
- Programmable Brown-out Reset (BOR)
- In-Circuit Serial Programming (ICSP)
- Enhanced Universal Synchronous Asynchronous Receiver Transceiver (EUSART) (PIC12F1572 only)
- PIC12LF1571 (1.8V - 3.6V)
- PIC12F1571 (2.3V - 5.5V)
Block Diagram
Publicado: 2014-03-05
| Actualizado: 2022-03-11
