Microchip Technology EMC1414 Multichannel Temperature Sensors
Microchip Technology EMC1414 Multichannel Temperature Sensors are high-accuracy and low-cost System Management Bus (SMBus) temperature sensors. The EMC1414 temperature sensors monitor four temperature channels and provide ±1°C accuracy for diode temperature. These multichannel temperature sensors feature Resistance Error Correction (REC), Beta Compensation, and automatic diode type detection, providing a robust solution for complex environmental monitoring applications. The EMC1414 temperature sensors are ideally used in notebook computers, desktop computers, and industrial and embedded applications.Features
- Programmable SMBus address
- Support for diodes requiring the BJT/transistor model:
- Supports 45nm, 65nm, and 90nm CPU thermal diodes
- Automatically determines external diode type and optimal settings
- Resistance Error Correction (REC)
- Up to 3 external temperature monitors:
- ±1°C max accuracy (20°C < TDIODE < 110°C)
- 0.125°C resolution
- Supports up to 2.2nF diode filter capacitor
- Anti-parallel diodes for extra diode support
- Internal temperature monitor:
- ±1°C accuracy
- 0.125°C resolution
- 3.3V supply voltage
- Programmable temperature limits for ALERT
- Available in these lead-free RoHS-compliant packages:
- 10-pin 3mm x 3mm DFN
- 10-pin MSOP
Applications
- Notebook computers
- Desktop computers
- Industrial
- Embedded
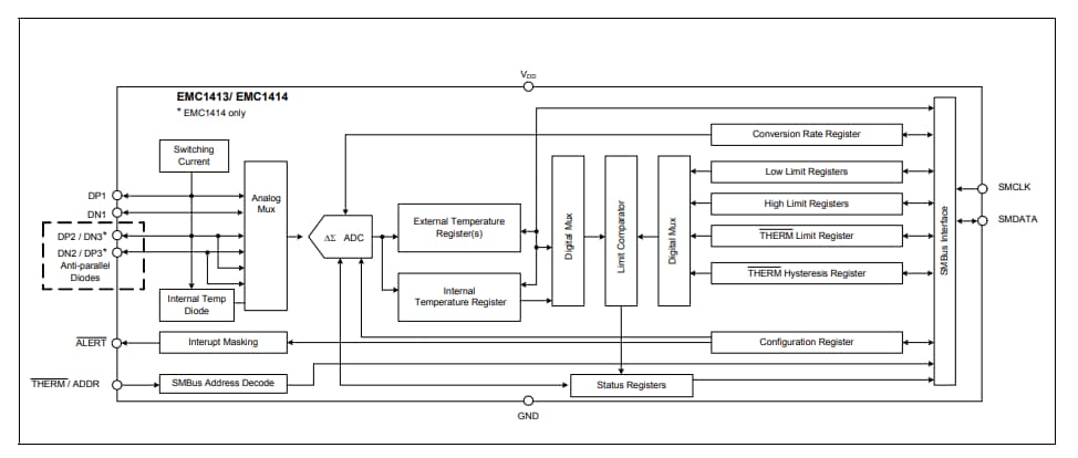
Block Diagram
Publicado: 2019-12-23
| Actualizado: 2023-06-12
