Microchip Technology DSA12x1/2/3/4 High Performance MEMS Oscillators
Microchip Technology DSA12x1/2/3/4 High Performance MEMS Oscillators are advanced timing solutions designed specifically for automotive applications requiring high reliability and precision. These Microchip oscillators utilize Micro-Electro-Mechanical Systems (MEMS) technology to deliver superior performance in harsh environments, offering excellent frequency stability over temperature, shock, and vibration. The DSA12x1 series provides CMOS output, while the DSA12x2/3/4 series supports differential outputs such as LVPECL, LVDS, and HCSL, making the devices suitable for high-speed data transmission systems. With AEC-Q100 qualification, low phase jitter, and wide operating temperature ranges, these oscillators are ideal for use in Advanced Driver-Assistance Systems (ADAS), infotainment systems, automotive networking, and other mission-critical automotive electronics. Compact packaging and programmable features further enhance design flexibility and integration into modern automotive platforms.Features
- Automotive AEC-Q100 qualified
- Frequency ranges
- 2.5MHz to 170MHz for DSA12x1
- 2.5MHz to 450MHz for DSA12x2/3/4
- Supports LVPECL, LVDS, or HCSL differential outputs (DSA12x2/3/4 only)
- Very low (<650fs typical) RMS phase jitter
- Complies with PCIe Gen1/2/3/4/5/6 common clock specifications (DSA12x2/3/4 only)
- High stability (±20ppm, ±25ppm, ±50ppm)
- Wide temperature ranges
- -40°C to +125°C Automotive Grade 1
- -40°C to +105°C Automotive Grade 2
- -40°C to +85°C Automotive Grade 3
- Small industry-standard footprints (CDFN/VDFN for DSA12x2/3/4, VDFN for DSA12x1)
- 6-lead 2.5mm × 2.0mm
- 6-lead 3.2mm × 2.5mm
- 6-lead 3.2mm × 5.0mm
- 6-lead 7.0mm × 5.0mm
- Excellent shock and vibration immunity, qualified to MIL-STD-883
- High reliability, 20x better Mean Time Before Failure (MTBF) than quartz oscillators
- 2.25V to 3.63V supply range
- Standby, Frequency Select, and Output Enable functions
- Lead-free and RoHS-compliant
Applications
- Automotive infotainment
- Automotive ADAS
- In-vehicle networking, CAN Bus, and Ethernet
Datasheets
- DSA12x1 High Performance CMOS MEMS Oscillator for Automotive
- DSA12x2/3/4 High Performance Differential MEMS Oscillators for Automotive
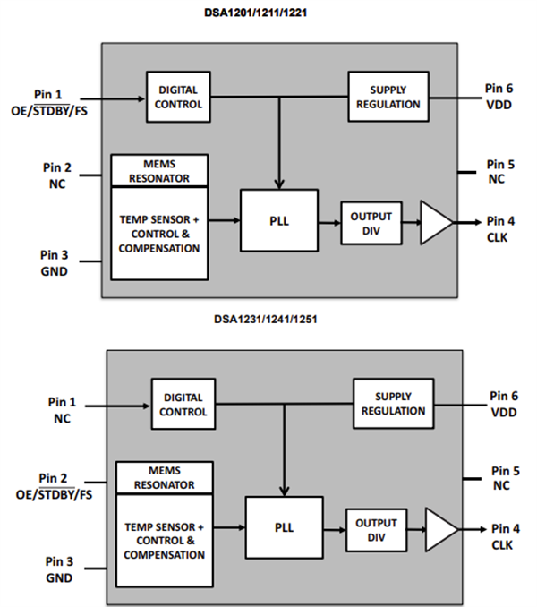
DSA12x1 Block Diagrams
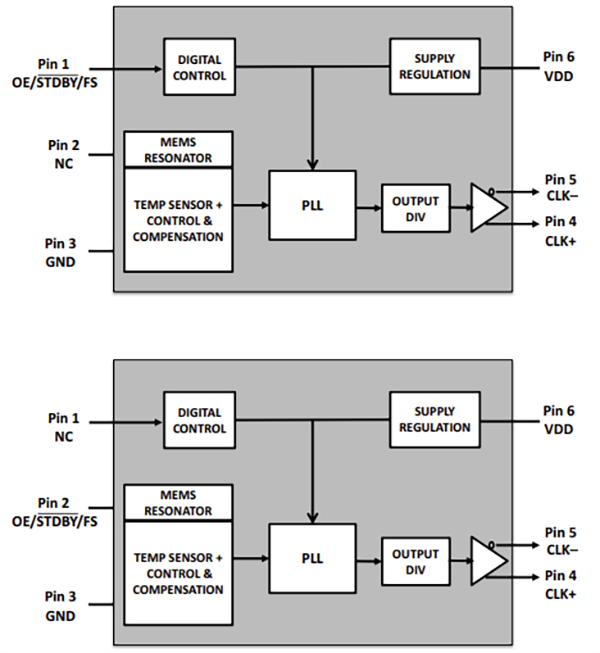
DSA12x2/3/4 Block Diagrams
Publicado: 2025-08-05
| Actualizado: 2025-08-26
