Lumissil IS31FL3737B 12 x 12 Dots Matrix LED Driver

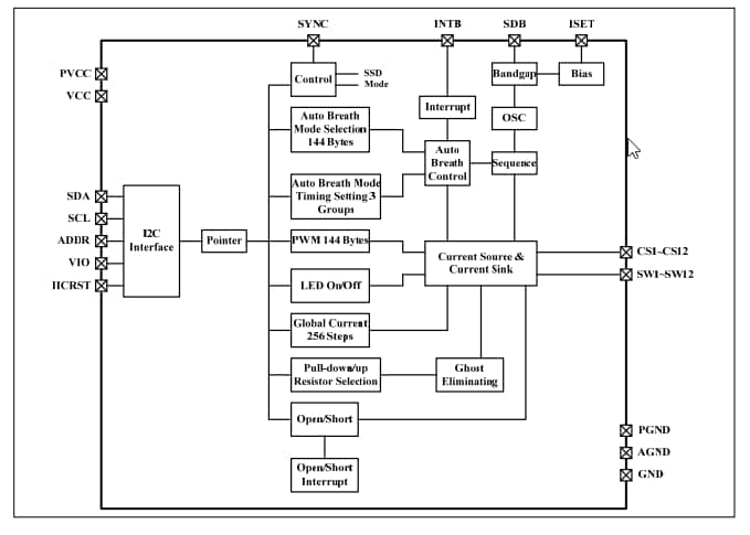
Lumissil IS31FL3737B 12 x 12 Dots Matrix LED Driver is a general-purpose LED driver with a 1/12 cycle rate that requires a 2.7V to 5.5V supply voltage range. This dot-matrix LED driver operates over the temperature range of -40°C to +125°C. The IS31FL3737B LED driver can be programmed via an I2C-compatible interface. Each LED can be dimmed individually with 8-bit PWM data, which allows for 256 steps of linear dimming. The IS31FL3737B LED driver features three auto breathing modes, which are noted as ABM-1, ABM-2, and ABM-3. Each ABM has four breathing characters, including current rising, falling, holding, and off-time, and three loop characters, including loop-beginning, loop-ending, and loop-times. The IS31FL3737B driver incorporates LEDs that can be configured individually to ABM or No-breathing mode. This driver detects each LED's open and short state and stores the open or short information in open-short registers. These registers inform MCU whether the LEDs are open or short and the location of these open or short LEDs. The open-short registers allow MCU to read via an I2C interface. The IS31FL3737B driver is available in the QFN-40 (5mm x 5mm) package. Typical applications include LED in white goods applications, gaming devices (keyboard and mouse), and hand-held devices for LED display.

Features

  • Supply voltage range: 2.7V to 5.5V
  • 12 current source outputs for row control
  • 12 switch current inputs for column scan control
  • Up to 144 LEDs (12 x 12) in dot matrix
  • 1MHz I2C interface
  • Programmable 12 x 12 (48RGBs) matrix size with de-ghost function
  • Selectable 3 auto breath modes for each dot
  • Individual on/off control
  • Individual auto breath mode select
  • Individual open and short error detection
  • Individual 256 steps PWM control steps
  • Cascade for synchronization of chips
  • QFN-40 (5mm x 5mm) package
  • 1.05kHz/2.1kHz/4.2kHz/8.4kHz/26.7kHz PWM frequency option
  • Auto breath mode offers 128 steps gamma current, interrupt, and state lookup registers
  • Auto breath loop features interrupt pin inform MCU auto breath loop completed
  • 256 steps global current setting

Applications

  • LED in white good applications
  • Gaming devices (keyboard and mouse)
  • Handheld devices for LED display

Block Diagram

Block Diagram - Lumissil IS31FL3737B 12 x 12 Dots Matrix LED Driver
Publicado: 2020-06-16 | Actualizado: 2024-07-10