Cirrus Logic CS250x & CS2600 Timing Devices

Cirrus Logic CS250x and CS2600 Timing Devices were developed to supply superior audio experiences in automotive and professional audio applications. These devices allow users to transition smoothly from previous high-performance timing devices, improving functionality and elevating the overall user experience. The CS250x and CS2600 timing devices offer a seamless upgrade path for all existing timing consumers. These devices generate stable, low-jitter clocks, and deliver an ideal clocking solution for the most prevalent audio networks. The CS250x and CS2600 timing devices enable downstream audio-data converters and digital audio systems to maximize performance while keeping the systems completely synchronized. Typical applications include automotive audio systems, digital audio systems, network and USB audio interfaces, and embedded systems.

Features

  • Clean clock generation for exceptional audio quality providing lower than 50ps baseband jitter
  • Drop-in replacement compatibility with previous Cirrus Logic product lines, including CS2000, CS2100, CS2200, and CS2300
  • Advanced hardware mode for simplified integration
  • Automatic rate detection to enhance ease of use
  • Glitchless clock transitioning always provides a clock independent of the reference without causing a glitch
  • Phase sync loop ensures that multiple audio signals or devices stay precisely aligned

Applications

  • Automotive audio systems
  • Digital audio systems
  • Network and USB audio interfaces
  • IoT sensor and transducer systems
  • Embedded systems

CS2500 Block Diagram

Block Diagram - Cirrus Logic CS250x & CS2600 Timing Devices

CS2501 Block Diagram

Block Diagram - Cirrus Logic CS250x & CS2600 Timing Devices

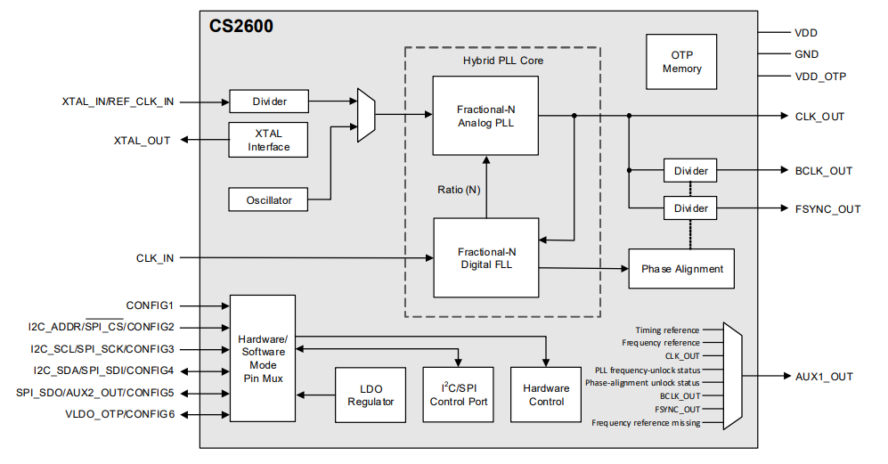
CS2600 Block Diagram

Block Diagram - Cirrus Logic CS250x & CS2600 Timing Devices
Publicado: 2025-02-28 | Actualizado: 2025-12-26