Adaptador/serializadores de interfaces MAX31911 de Maxim

Adaptador/serializadores de interfaces MAX31911 de Maxim

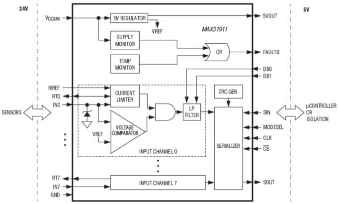
Los serializadores/adaptador de interfaces MAX31911 de Maxim son un serializador de interfaz industrial que adapta, acondiciona y serializa la salida digital de 24 V de los sensores y conmutadores. Se utilizan en la automatización industrial, de procesos y de la construcción con señales de hasta 5 V compatibles con CMOS necesarias para los microcontroladores. Ofrecen el circuito de interfaz frontal de un módulo de entrada digital de un controlador lógico programable (PLC). El dispositivo cuenta con funciones de limitación de corriente integrada, filtro de paso bajo y serialización de canales. La limitación de la corriente de entrada permite una reducción significativa de la energía consumida desde la fuente de tensión de campo en comparación con las implementaciones tradicionales de resistencia-separador discreto. El serializador de dispositivos es apilable, de forma que se pueden serializar todos los canales de entrada deseados y mantener una salida a través de un único puerto compatible con SPI. Esto reduce el número de optoacopoladores necesarios a solamente tres, sea cual sea el número de canales de entrada.

Características
  • Ocho canales de entrada de alta tensión (36 V, máx.)
  • Configurable para los tipos de entrada 1, 2 y 3 de IEC 61131-2
  • Intervalo de alimentación de funcionamiento amplio de 7 V a 36 V
  • La configuración opcional permite la alimentación de 5 V
  • Filtrado y eliminación de rebote de entradas seleccionables de 0 ms a 3 ms
  • Limitación de corriente de entrada configurable de 0,5 mA a 6 mA
  • Inmunidad HBM ESD alta en todos los pines de entrada de campo
  • Serialización 8 a 1 en chip con interfaz SPI
  • Regulador de 5 V en chip
  • Indicador de sobretemperatura
  • Monitor de tensión de alimentación de campo de 24 V en chip

  • Corriente en reposo y disipación de alimentación bajas
  • Generación y transmisión de códigos CRC multibits para detección de errores y
  • transmisión de datos más fiable a un micro externo

Aplicaciones
  • Automatización de edificios
  • Módulos de entrada digital para PLC
  • Automatización industrial
  • Control de motor
  • Automatización de procesos
Diagrama de bloques
Diagrama de bloques
eNews
  • Maxim Integrated
Publicado: 2015-05-01 | Actualizado: 2023-04-12