Analog Devices / Maxim Integrated Convertidores de termopar a digital MAX31850/51
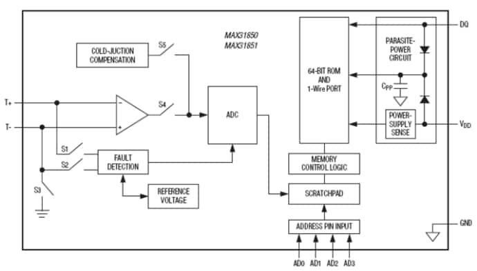
Los convertidores de termopares a digital de un cable compensados de unión fría Maxim Integrated MAX31850 / MAX31851 son convertidores CI precisos de termopares a digital que facilitan el esfuerzo de diseño y un menor coste de sistema. La interfaz de 1 cable simplifica los sistemas de multitermopares con un cableado mínimo. Cada dispositivo tiene un único código en serie de 64 bits almacenado en una ROM en placa. También presentan cuatro bits programables para identificar de forma única hasta 16 ubicaciones de sensores en un bus. MAX31850 / MAX31851 simplifican la gestión de fallos de sistema y resolución de incidencias detectando cortocircuitos de termopares a GND or VCC. Estos dispositivos también detectan un termopar abierto. Son ideales para el uso en una variedad de aplicaciones, incluyendo un control térmico industrial de precisión, equipo médico, equipo solar, automoción y más.Características
- Ease and speed system design
- Integrate all of the required functions of a discrete solution
- ADC, precision amplifier, temperature sensor for cold-junction compensation, 1-wire communication interface
- Versions available for several thermocouple types
- K, J, N, T, and E (MAX31850)
- S and R (MAX31851)
- Highly accurate (±2.0°C) with no calibration required
- Integrate all of the required functions of a discrete solution
- Integrated solution lowers system cost over discrete solution
- One IC versus four to five discrete components reduces board space requirements
- Simplify system fault management and troubleshooting
- Detects thermocouple shorts to GND or VCC
- Detects open thermocouple
- 1-Wire multidrop capability simplifies multisensor systems
- Each device has a unique 64-bit serial code stored in an on-board ROM
- 4 pin-programmable bits to uniquely identify up to 16 sensor locations on a bus
- Minimizes wiring requirements
Aplicaciones
- Precision industrial thermal monitoring
- Medical equipment
- HVAC/Appliances
- Solar equipment
- Automotive
Application Circuit
Block Diagram
Vídeos
Publicado: 2013-03-05
| Actualizado: 2023-04-13
