Analog Devices Inc. Medidor en chip de baja potencia de precisión de 16 bits ADuCM350
El medidor en chip de baja potencia de precisión de 16 bits ADuCM350 de Analog Devices es un completo medidor en chip de alta precisión alimentado por pila de botón para dispositivos portátiles de diagnóstico en punto de atención y dispositivos para llevar puestos para la monitorización de signos vitales. El ADuCM350 está diseñado para mediciones amperométricas, voltamétricas e impedométricas de alta precisión. El frontal analógico ADuCM350 (AFE) incluye un convertidor analógico a digital (ADC) de 160 kSPS de precisión de 16 bits, referencia de tensión de precisión de 0,17 %, convertidor digital a analógico (DAC) de 12 bits, sin ausencia de códigos, y una matriz de conmutación ultrabaja reconfigurable. El ADuCM350 incluye además un procesador basado en ARM® Cortex M3, memoria y toda la conectividad de E/S para respaldar medidores portátiles con pantalla, comunicación por USB y sensores activos.Características
- Analog performance
- 160kSPS, 16-bit, precision analog-to-digital converter (ADC)
- 4 dedicated voltage measurement channels
- 8 current measurement channels Impedance measurement engine
- High precision voltage reference
- Supply noise rejection filtering
- Ultralow leakage configurable switch matrix 12-bit digital-to-analog converter (DAC) Precision instrumentation amplifier control loop
- 6-channel CapTouch controller
- Temperature sensor
- 160kSPS, 16-bit, precision analog-to-digital converter (ADC)
- Analog hardware accelerators
- Autonomous analog front-end (AFE) controller
- Independent sequencer for AFE functions
- Direct digital synthesizer (DDS)/arbitrary waveform generator
- Receive filters
- Complex impedance measurement (DFT) engine
- Processing
- 16MHz Arm Cortex-M3 processor
- 384kB of embedded flash memory
- 32kB system SRAM
- 16kB Flash configured EEPROM
- Integrated full-speed USB 2.0 controller and PHY
- Multilayer advanced microcontroller bus architecture (AMBA) bus matrix
- Central direct memory access (DMA) controller
- Real-time clock (RTC)
- General-purpose, wake-up, and watchdog timers
- Communication Input/Output
- I2S and beeper interface
- LCD display controller (parallel and serial)
- LCD segment controller
- SPI, I2C, and UART peripheral interfaces
- Programmable GPIOs
- Power
- Coin cell battery compatible
- 2.5V to 3.6V active measurement range
- Power management unit (PMU)
- Power-on reset (POR) and power supply monitor (PSM)
- Packages and temperature range
- Operating temperature range: −40°C to +85°C
- Package: 120-lead, 8mm × 8mm CSP_BGA
Aplicaciones
- Point-of-care diagnostics
- Body-worn devices for monitoring vital signs
- Amperometric, voltametric, and impedometric measurements
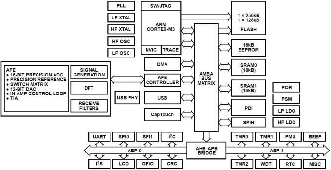
Functional Block Diagram
Additional Resources
Condition-Based Monitoring of the Human Body
With advances in technology, vital sign monitoring will become increasingly common in various industries and throughout our daily lives. Whether used for treatment or prevention, such health-related solutions call for reliable and robust technology.
Learn More
Bioelectrical Impedance Analysis in Monitoring of the Clinical Status and Diagnosis of Diseases
Publicado: 2014-07-10
| Actualizado: 2025-03-10
