Analog Devices Inc. AD4190-4 Low-Noise Precision Sigma-Delta ADCs
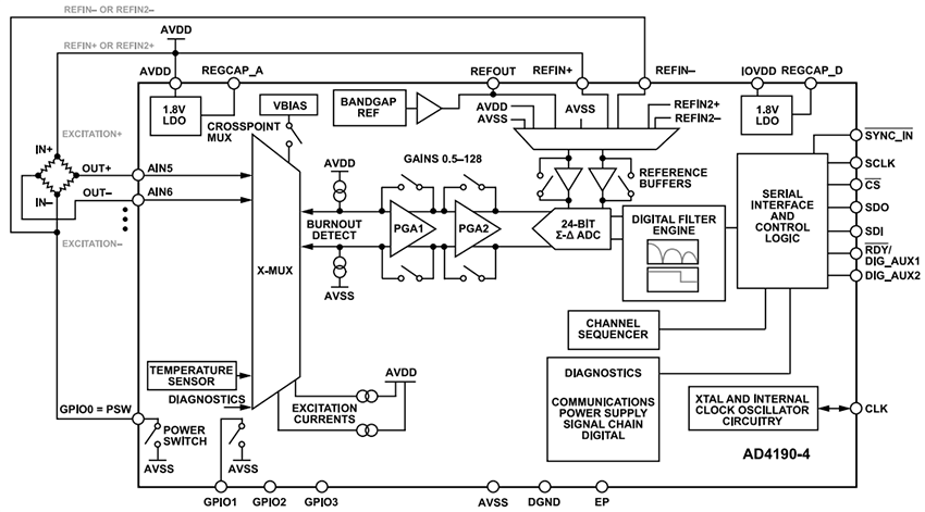
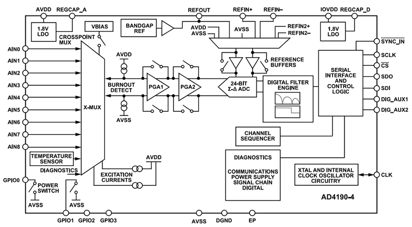
Analog Devices Inc. AD4190-4 Low-Noise Precision Sigma-Delta ADCs are completely integrated 24-bit, 62.5kSPS, multichannel analog front ends for high precision measurement applications. The AD4190-4 devices contain a low-noise, 24-bit Σ-Δ analog-to-digital converter (ADC) and can be configured to have four differential or eight single-ended or pseudodifferential inputs. The on-chip low-noise gain stage ensures that signals of small amplitude can be interfaced directly to the ADC. The ADI AD4190-4 offers a high degree of signal chain integration. These devices contain an internal reference and accept two external differential references, which can be internally buffered. Communication is handled via a standard SPI interface for easy integration into microcontroller-based designs. Typical applications include industrial automation, medical instrumentation, weighing scales, and other precision measurement systems where reliability and accuracy are critical.
Features
- 10nV input-referred noise at 3.8SPS, 128 gain
- Crosspoint multiplexed analog inputs
- 4x differential/8x pseudodifferential inputs
- Ultra-low noise integrated PGA, 0.5 to 128 gains range
- 3.8SPS to 62.5kSPS output data rate
- Flexible digital filters
- Low-latency sinc filters
- Simultaneous 50Hz/60Hz rejection
- Band-gap reference with 5ppm/°C drift typical
- Internal oscillator
- Power supplies
- 4.75V to 5.25V or ±2.5V analog
- 1.7V to 5.25V digital
- Matched programmable excitation current sources
- Low-side power switches
- On-chip bias voltage generator
- Internal temperature sensor
- 4x general-purpose inputs/outputs
- Internal and system calibration
- Sensor burnout detection
- Diagnostic functions
- Per channel configuration
- Flexible automatic channel sequencer
- 3- or 4-wire serial interface (Schmitt trigger on SCLK) - SPI, QSPI, MICROWIRE, and DSP compatible
- TDM-compatible interface for data streaming
- Temperature ranges
- -40°C to +105°C performance
- -40°C to +125°C functional
- 32-lead 4mm x 6mm LFCSP package
- Moisture Sensitivity Level (MSL) 3
Applications
- Industrial process control (PLC/DCS modules)
- Temperature measurement
- Pressure measurement
- Medical and scientific instrumentation
- Chromatography
- Environmental monitoring
- Electrical test and measurement
- Instrumentation
- Weigh scales
Functional Block Diagram
Weigh Scale Application Circuit
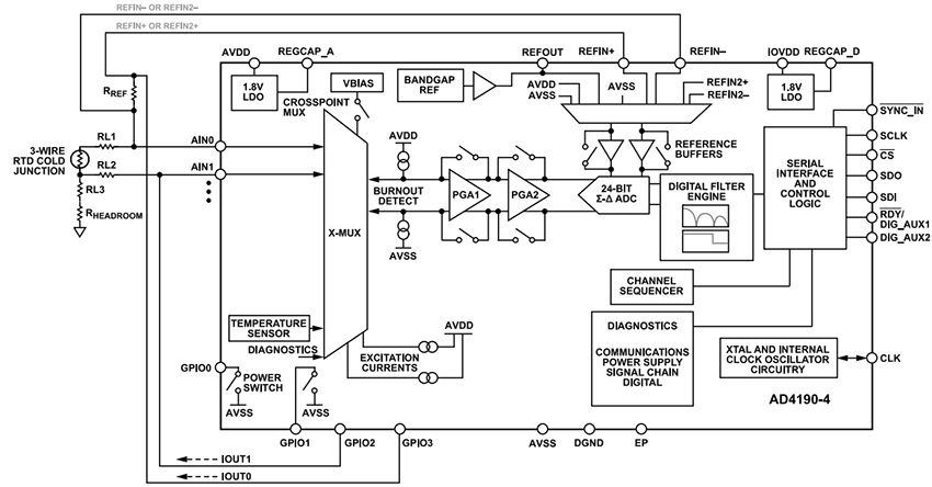
3-Wire RTD Application Circuit
