Alliance Memory N25Q0x SPI NOR FLASH Memory Devices
Alliance Memory N25Q0x SPI NOR FLASH Memory Devices are high-performance multiple input/output serial Flash memories manufactured on 65nm NOR technology. These memory devices feature execute-in-place (XIP) functionality, a high-speed SPI-compatible bus interface, and advanced write protection mechanisms. The N25Q0x NOR FLASH memory devices can double or quadruple the transfer bandwidth for READ and PROGRAM operations. This is made possible by the innovative, high-performance, dual/quad input/output instructions. Software can write-protect these memory devices through volatile and nonvolatile protection features, depending on the application's needs. The protection granularity is 64KB (sector granularity) for volatile protections.The N25Q0x SPI NOR FLASH memory devices have 64x One-Time Programmable (OTP) bytes that can be read and programmed with the READ OTP and PROGRAM OTP commands. These 64x bytes can also be permanently locked with a PROGRAM OTP command. The devices can also pause and resume PROGRAM and ERASE cycles using dedicated PROGRAM/ERASE SUSPEND and RESUME instructions. The N25Q0x NOR FLASH memory devices can be operated with three protocols: extended SPI, dual I/O SPI, and quad I/O SPI.
Features
- SPI-compatible serial bus interface
- 108MHz (maximum) clock frequency
- 2.7V to 3.6V single supply voltage (N25Q032A)
- 1.7V to 2.0V single supply voltage (N25Q064A)
- Dual/quad I/O instruction provides increased throughput up to 432MHz
- Extended SPI, dual I/O, and quad I/O supported protocols
- Execute-in-place (XIP) mode for all 3x protocols:
- Configurable via volatile or nonvolatile registers
- Enables memory to work in XIP mode directly after power-on
- PROGRAM/ERASE SUSPEND operations
- Continuous read of entire memory via a single command:
- Fast read
- Quad or dual output fast read
- Quad or dual I/O fast read
- Flexible to fit application:
- Configurable number of dummy cycles
- Configurable output buffer
- RESET function available upon customer request (N25Q032A)
- Software reset (N25Q064A)
- 64-byte, user-lockable, one-time programmable (OTP) dedicated area
- Erase capability:
- Subsector erase 4KB uniform granularity blocks
- Sector erase 64KB uniform granularity blocks
- Full-chip erase
- Write protection:
- Software write protection applicable to every 64KB sector via volatile lock bit
- Hardware write protection: protected area size defined by 4x nonvolatile bits
- Additional smart protections, available upon request
- Electronic signature:
- JEDEC-standard 2-byte signature
- Unique ID code (UID):
- 17x read-only bytes, including:
- 2x additional extended device ID bytes to identify device factory options
- Customized factory data (14x bytes)
- 17x read-only bytes, including:
- Minimum 100,000 ERASE cycles per sector
- More than 20x years of data retention
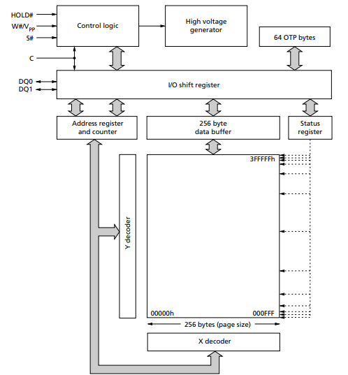
Block Diagram
Logic Diagram
View Results ( 8 ) Page
| Número de referencia | Hoja de datos | Tamaño de memoria | Organización | Tensión del suministro - Máx | Empaquetado / Estuche |
|---|---|---|---|---|---|
| N25Q032A13ESFA0F | ![]() |
32 Mbit | 4 M x 8 | 3.6 V | SOP2-16 |
| N25Q032A13EF4A0F | ![]() |
32 Mbit | 4 M x 8 | 3.6 V | U-PDFN-8 |
| N25Q032A13ESCA0F | ![]() |
32 Mbit | 4 M x 8 | 3.6 V | SOP2-8 |
| N25Q064A13EF8A0E | ![]() |
64 Mbit | 8 M x 8 | 2 V | PDFN-8 |
| N25Q064A13EF8H0E | ![]() |
64 Mbit | 8 M x 8 | 2 V | PDFN-8 |
| N25Q064A13EF8A0F | ![]() |
64 Mbit | 8 M x 8 | 2 V | PDFN-8 |
| N25Q064A13EF640E | ![]() |
64 Mbit | 8 M x 8 | 2 V | PDFN-8 |
| N25Q064A13ESFA0F | ![]() |
64 Mbit | 8 M x 8 | 2 V | SOP2-16 |
Publicado: 2020-08-19
| Actualizado: 2024-03-19

