Abracon AB-RTC-TN Real-Time Clocks (RTCs)
Abracon AB-RTC-TN Real-Time Clocks (RTCs) with integrated Temperature-Compensated Crystal Oscillator (TCXO) deliver ±3ppm stability across a wide temperature range, ensuring precise timekeeping for demanding applications. Integrating the RTC and oscillator into a single compact module reduces frequency drift, minimizes external components, and simplifies system design while enhancing reliability. The AB-RTC-TN RTCs feature ultra-low power consumption of 240nA and an automotive-grade option, supporting long-life, battery-operated devices and ensuring uninterrupted timekeeping even during power failures. The AB-RTC-TN RTCs are suited for smart-metering, automotive event data recorders, UAVs, SCADA systems, medical devices, and surveillance equipment.
Features
- 240nA @ 3V low power consumption
- ±3ppm time accuracy @ -40°C to 85°C temperature range
- External event input with interrupt and time stamp function
- 1.5V to 5.5V wide operating voltage range
- Integrated CMOS oscillator with 32.768kHz crystal resonator
- Factory-calibrated temperature compensation
- Internal Power-On Reset (POR)
- Alarm Interrupts for seconds, minutes, hours, date, and weekday
- Automatic leap year calculation (2000 to 2099)
- 32.768kHz, 1.024Hz, and 1Hz clock outputs
- 400kHz I2C-bus interface
- AEC-Q200 Qualified (AB-RTC-TNA)
Applications
- IoT metering
- Wearables/Portables
- Advanced Driver Assistance Systems (ADAS)
- Telematics and infotainment
- Event data recorders
- Industrial
- Health care
- GNSS communication devices
- Satellites / UAVs / Drones
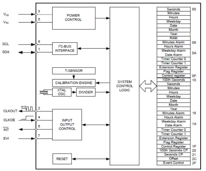
Block Diagram
Mechanical Drawing
